最新动态
- 01YUKEN油研电磁阀dsg-01-3c3-d24-n1-50价格,型号说明
- 02挖机液压泵维修,卡特挖机液压泵的维修步骤
- 03REXROTH力士乐AZPF,AZPB,AZPN系列齿轮泵性能参数及特征
- 04PARKER派克轴向柱塞泵PV028R1K1T1N-MMC价格,性能参数及使用说明
- 05日本东京计器柱塞泵P16V,P21V,P100V,P70V系列型号大全,性能参数
- 06台湾油昇yeoshe柱塞泵型号大全,特征及应用
- 07VIVOIL齿轮泵,VIVOIL液压齿轮泵/马达型号大全,特征及应用说明
- 08A3H泵有哪些型号? YUKEN油研A3H系列高压变量柱塞泵有哪些优势
- 09Caproni齿轮泵有哪些型号,这些型号的详细参数和特点是什么

行业新闻
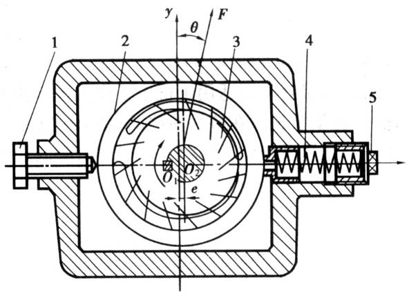
内反馈限压式变量叶片泵
发布时间:2017-07-17 00:00:00 浏览次数:5271原理:利用泵本身输出油对定子产生不平衡液压力的反馈作用来自动调节偏心距从而达到改变流量的目的。
F的水平分力
,Fx和限压弹簧4的作用方向相反。
当Fx大于弹簧力时,便使定子向右推移,偏心距减小,泵的流量便减小;当泵的压力较低时,
Fx小于弹簧力,定子始终被推到最左边,偏心距最大,泵的流量最大。

1-调节流量螺钉,2-定子,3-转子, 4-限压弹簧,5-限压螺钉
相关新闻
丹尼逊叶片泵型号规格大全,DENISON叶片泵样本
2025-01-06 14:52:14
丹尼逊(DENISON)叶片泵拥有多种型号规格,以下是其主要系列及部分型号的详细介绍,同时也提供了一个简化的DENISON叶片泵样本概览: 一、丹尼逊叶片泵主要系列 T6系列叶片泵 T6C单联泵:排量范围从003(约...
Vickers叶片泵有哪些常见问题,威格士叶片泵的性能参数
2025-01-13 14:42:02
Vickers(威格士)叶片泵在使用过程中可能会遇到一些常见问题,同时其性能参数也是用户关注的重点。以下是对这些问题的详细解答: Vickers叶片泵常见问题 使用不当导致的故障: 联轴器过于紧或轴头轴向受力,可...
挖机液压泵维修,卡特挖机液压泵的维修步骤
2025-02-05 10:20:42
挖机液压泵,特别是卡特挖机液压泵,是挖掘机的重要部件,其维修步骤通常包括以下几个关键环节: 一、故障排查 检查液压油: 确保液压油没有泄漏,油箱内油面高度适中,不低于最低油标线。 检查油液是否清洁,避免灰尘、沙粒等杂...
![【bv1946官方网站下载地址
】液压元件[液压油泵,电磁阀]一站式服务平台](http://m.longbaobei.com/www/upload/20210127173032768281.png)




