品牌展示
- YUKEN油研液压
- REXROTH液压泵
- VICKERS液压油泵
- DAIKIN液压油泵
- PARKER液压油泵
- NACHI液压油泵
- DENISON液压油泵
- Marzocchi齿轮泵
- Sumitomo齿轮泵
- Danfoss液压泵
- Berarma叶片泵
- YEOSHE液压泵
- 东京计器液压泵
- SALAMI齿轮油泵
- VIVOIL齿轮油泵
- CASAPPA齿轮泵
- Caproni齿轮油泵
- Bucher齿轮泵
- HESPER齿轮泵
- HYDAC齿轮泵
- Roquet齿轮泵
- Bondioli齿轮泵
- Jihostroj齿轮泵
- Duplomatic迪普马
- METARIS齿轮泵
- ATOS齿轮油泵
- KRACHT齿轮泵
- Brevini齿轮油泵
- RONZIO齿轮泵
- 沃尔沃齿轮泵
- Commercial液压泵
- LINDE液压油泵
- HAWE液压油泵
- Kawasaki液压泵
- 赫格隆液压马达
- 力士乐减速机
- 其他齿轮泵
- 维修服务
最新动态
- 01YUKEN油研电磁阀dsg-01-3c3-d24-n1-50价格,型号说明
- 02挖机液压泵维修,卡特挖机液压泵的维修步骤
- 03REXROTH力士乐AZPF,AZPB,AZPN系列齿轮泵性能参数及特征
- 04PARKER派克轴向柱塞泵PV028R1K1T1N-MMC价格,性能参数及使用说明
- 05日本东京计器柱塞泵P16V,P21V,P100V,P70V系列型号大全,性能参数
- 06台湾油昇yeoshe柱塞泵型号大全,特征及应用
- 07VIVOIL齿轮泵,VIVOIL液压齿轮泵/马达型号大全,特征及应用说明
- 08A3H泵有哪些型号? YUKEN油研A3H系列高压变量柱塞泵有哪些优势
- 09Caproni齿轮泵有哪些型号,这些型号的详细参数和特点是什么


MDR系列hidraulica um plopeni(HP)齿轮泵
品牌类型:
发布时间:
其他齿轮泵
2022-07-02 14:23:44
温馨提示:由于产品型号太多,网站只能列出部分产品信息。如您在网站中未能找到您需要的型号,请咨询我们的在线客服!
咨询热线:13686884195 / 0755-29874345
详情介绍
MDR系列齿轮泵


>>型号齐全,现货供应,规格齐全。。欢迎来电咨询。。。
施工
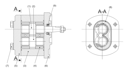
由Hidraulica UM Plopeni生产的齿轮电机几乎与齿轮泵相同,主要由一对齿轮组成,(1)和(2),它们在由轴承衬套(4)支撑的壳体(3)。盖子(5)和法兰(6)通过螺钉(7)与主体连接在一起。密封环(8)和旋转箍(9)提供结构的密封。
组装和培训
为了确定驱动方向,发动机从驱动轴看起来。它在泵标签上用箭头标出。驱动条件(联轴器类型,允许应力)与类似泵的相同。
液压环境
将使用添加剂高压矿物油,例如在SR 9691:94之后。
工作条件下的运动粘度应在12-700mm 2 / s之间 - 优选在20-100mm 2 / s之间。启动时,允许2000 mm2 / s。液压回路中必须存在最大25μm的过滤器。
![【bv1946官方网站下载地址
】液压元件[液压油泵,电磁阀]一站式服务平台](http://m.longbaobei.com/www/upload/20210127173032768281.png)





